Подготовительный этап сооружения решётки
Первый этап обусловлен выбором подходящей конструкции решётки для окна. На сегодняшний день изготавливают глухие и открывающиеся конструкции. Но вне зависимости от системы, применяемой для защиты работы по изготовлению решётки своими руками, начинают с подготовки.
Перед началом работ важно правильно провести замеры. Ширина и длина изделия должна приравниваться оконному проёму за вычетом 50 мм
Естественно, по длине решётка в случае необходимости может быть короче, но настолько, чтобы в образовавшийся проём не пролез злоумышленник
После снятия замеров важно чётко выполнить чертёж, на котором прорисовать все элементы декора. Конструкции со сложным рисунком изготавливаются с учётом максимальных отверстий, которые не позволят вору проникнуть в помещение
Если запланировано изготовление распашных конструкций своими руками, важно предусмотреть место установки замкового механизма. При этом одна створка может быть глухой, а другая открываться, что придаст защитной оконной конструкции большей жёсткости и позволит покинуть помещение при пожаре. Также важно чтобы распашная часть решётки была расположена у открывающихся оконных створок. Подготавливая план сооружения решётки, важно учитывать запас прочности конструкции, чтобы её не повело во время эксплуатации. Поэтому нужно предусмотреть наличие рёбер жёсткости, которые изготавливаются из металлического уголка, сравненного в каркас. В свою очередь, в декоративных решётках должны быть элементы, связанные между собой как в вертикальной, так и горизонтальной плоскости. По подготовленному чертежу выполняют расчёт расходных материалов: металлический прут и уголок, штифты и элементы декора или ковки, а также петли и замок, если система распашная
Естественно, по длине решётка в случае необходимости может быть короче, но настолько, чтобы в образовавшийся проём не пролез злоумышленник
После снятия замеров важно чётко выполнить чертёж, на котором прорисовать все элементы декора. Конструкции со сложным рисунком изготавливаются с учётом максимальных отверстий, которые не позволят вору проникнуть в помещение. Если запланировано изготовление распашных конструкций своими руками, важно предусмотреть место установки замкового механизма
При этом одна створка может быть глухой, а другая открываться, что придаст защитной оконной конструкции большей жёсткости и позволит покинуть помещение при пожаре. Также важно чтобы распашная часть решётки была расположена у открывающихся оконных створок. Подготавливая план сооружения решётки, важно учитывать запас прочности конструкции, чтобы её не повело во время эксплуатации. Поэтому нужно предусмотреть наличие рёбер жёсткости, которые изготавливаются из металлического уголка, сравненного в каркас. В свою очередь, в декоративных решётках должны быть элементы, связанные между собой как в вертикальной, так и горизонтальной плоскости. По подготовленному чертежу выполняют расчёт расходных материалов: металлический прут и уголок, штифты и элементы декора или ковки, а также петли и замок, если система распашная
Если запланировано изготовление распашных конструкций своими руками, важно предусмотреть место установки замкового механизма. При этом одна створка может быть глухой, а другая открываться, что придаст защитной оконной конструкции большей жёсткости и позволит покинуть помещение при пожаре
Также важно чтобы распашная часть решётки была расположена у открывающихся оконных створок. Подготавливая план сооружения решётки, важно учитывать запас прочности конструкции, чтобы её не повело во время эксплуатации. Поэтому нужно предусмотреть наличие рёбер жёсткости, которые изготавливаются из металлического уголка, сравненного в каркас. В свою очередь, в декоративных решётках должны быть элементы, связанные между собой как в вертикальной, так и горизонтальной плоскости. По подготовленному чертежу выполняют расчёт расходных материалов: металлический прут и уголок, штифты и элементы декора или ковки, а также петли и замок, если система распашная.
Также для беспроблемного проведения работ по сборке оконной решётки своими руками не обойтись без хорошего инструмента:
- электроболгарка;
- электросварка;
- дрель с функцией отбоя и набор свёрл по металлу и камню;
- обычный молоток.
Несколько вариантов металлических решеток
Виды металлических решеток
Совсем еще недавно наибольшим спросом пользовались решетки, которые глухо закреплялись в стене. Такие конструкции выглядят массивно и надежно, их очень трудно вырвать или сломать. Они очень хорошо защищают от проникновения воров. В то же время, если в доме случится пожар, а дверь будет заблокирована, глухая решетка окажется большим препятствием для спасения домочадцев. Чтобы такого не случилось, ставить их целесообразно в домах, имеющих два выхода.
Варианты несложных в изготовлении решеток.
Гораздо удобнее и безопаснее, если решетка запирается изнутри. Распашные и раздвижные модели выглядят более декоративно, но при этом обладают высокой прочностью и надежностью. Раздвижные решетки на окна своими руками сделать очень сложно, поскольку такое устройство требует высокой точности. Чаще всего их просто заказывают у фирм-изготовителей, а потом самостоятельно устанавливают. А вот распашные варианты оконных решеток сделать в домашних условиях не трудно: их конструкция проста и удобна, установка также не займет много времени. Они оснащаются врезным замком, который надежно запирает створки с внутренней стороны. Их делают из металлических лент, стальных прутьев и кованых декоративных элементов.
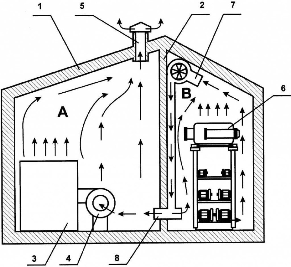
Виды вентиляции
В доме с газовой котельной обустраивают 2 вида вентиляции: естественную и принудительную.
Первый вариант наиболее распространен в частном секторе. Естественная вентиляция разрешена для котлов мощностью до 30 кВт.
В инженерной сети воздухообмен выполняется за счет разности температур и давления. Воздушные массы произвольно циркулируют между улицей и помещением через воздуховоды.

В принудительной вентиляции воздушные потоки перемещаются за счет механического принуждения работающими вентиляторами. Инженерная сеть актуальна для большой котельной с мощными котлами.
Ставят механическую вентиляцию для инновационного отопительного оборудования, где использование принудительного вентилирования рекомендовано производителем.

Схема принудительной системы, где вентилятор обозначен цифрой 7
Схема принудительной системы, где вентилятор обозначен цифрой 4
Виды оконных решеток.
Решетки могут иметь различный уровень сложности конструкции. В связи с этим, перед тем как приступать к самостоятельному изготовлению, следует разобраться, какие решетки бывают.
Решетки глухого типа .
Они устанавливаются на стене дома или встраиваются в стену с помощью откосов. Кроме этого, они крепятся к оконной раме. Этот вариант является самым надежным в плане защищенности жилья от проникновения злоумышленников, но является нарушением пожарной безопасности, так как такая решетка является ловушкой в случае необходимости покинуть дом через окно.
Тем не менее, решетки глухого типа наиболее распространенный вариант защиты. Этому способствует простота их установки.
Распашные решетки .
Такие решетки могут быть выполнены с одной, двумя или тремя открывающимися створками. Бывает и большее количество створок. Они изготавливаются из общего металлического каркаса, на который с помощью петель навешиваются створки, закрывающиеся с внутренней стороны конструкции. Этот вариант является наиболее безопасным для хозяев дома: в случае пожара решетку можно легко открыть изнутри и покинуть дом через окно. Благодаря разнообразию исполнения распашных решеток, является возможным скрыть замок и петли, тем самым придавая решетке вид «наглухо» вмонтированной.
Раздвижные или складные решетки.
Такие решетки имеют сложное устройство, так как все пересечения элементов должны быть связаны между собой с помощью шарниров.
Наиболее распространенным является вариант, когда такие решетки ставятся с внутренней стороны помещения, но иногда они встречаются и изнутри. И в том и в другом случае, такие решетки запираются на потайной замок, который можно отпереть и закрыть в любой момент. Благодаря этому данный вид решеток также является безопасным с точки зрения пожарной профилактики.
Но, учитывая сложность самостоятельного изготовления и установки такой решетки, а также и приличную стоимость готовой конструкции, данные модели встречаются намного реже, чем традиционные.
Минусы противовзломных окон
Вскрыть обычное пластиковое окно можно за 30 секунд, тихо отжав створку. Первое и самое основное воздействие преступники оказывают на оконную фурнитуру. Если окно имеет 1 класс защиты, где установлена только противовзломная фурнитура, злоумышленник провозится 2 минуты и не сможет отжать створку. Тогда он перейдет к высверливанию ручки, что в обычном окне занимает 30 секунд, но это невозможно сделать бесшумно. При 1 классе защиты фурнитуры высверлить ручку не получится, и, провозившись еще пару минут, «профессионал» перейдет к попытке проникновения через стеклопакет, что сопровождается громким звуком.
Фото: противовзломное окно не даст преступнику быстро и бесшумно проникнуть в помещение Если стеклопакет защищен, то через пару минут непрошеный гость поймет, что у него нет шансов, и скроется, не добившись результата. Конечно, имея в распоряжении час времени и арсенал инструментов, можно попасть в любой дом или квартиру, но, как правило, воры рассчитывают на 2-3 минуты.
| Купить противовзломные окна* |
Сравнение цен на решетки и противовзломные окна
| Комплектация противовзломного окна | Увеличение стоимости относительно стандартного окна 2 м 2 с двумя открывающимися створками без противовзломных свойств | Стоимость по сравнению с решетками на окна | Эффективность по сравнению с решетками на окна |
| Установка грибовидных цапф | +800 руб. | Дешевле решеток эконом-класса | Равна эффективности решеток эконом-класса |
| Противовзломная фурнитура 1 класса безопасности | +2 500 руб. | Равно стоимости решеток эконом-класса | Эффективнее решеток эконом-класса |
| Противовзломная фурнитура 2 класса безопасности | +10 000 руб. | Равно стоимости решеток среднего ценового сегмента | Эффективнее решеток среднего ценового сегмента |
| Противовзломная фурнитура 2 класса безопасности + антивандальный стеклопакет (триплекс+закаливание) и спец.армирование |
100% гарантии от проникновения непрошеных гостей не дадут никакие производители и средства защиты, в том числе и решетки на окнах. Они лишь задерживают грабителей, делают их работу неудобной, более рискованной и продолжительной. Какого уровня защиту выбрать, решает покупатель, исходя из бюджета, предусмотренного на безопасность недвижимости.
*Статья содержит контекстную и визуальную рекламу
Какими бывают решетки
Решетки делятся на группы в зависимости от способа и вида изготовления. По конструктивным особенностям можно выделить:
- глухие;
- раздвижные;
- распашные;
- откидные.

Глухие решетки встречаются чаще всего. Их особенностью является то, что они не открываются никаким образом. Представляют собой такие решетки прочную монолитную металлическую конструкцию, которая закрепляется на окно. Из положительных моментов можно выделить прочность и высокий уровень защиты. Но если речь идет о пожарной безопасности, то решетки такого типа не являются лучшим вариантом. Они блокируют возможность эвакуации во время пожара или другой непредвиденной ситуации. Раздвижные решетки имеют интересную конструкцию. Она является одной из самых сложных для самостоятельного изготовления. Конструкция такой решетки представляет собой пересечение многих металлических пластин, которые соединяются между собой подвижно. Часто такие решетки использую не только на окнах, но и на дверях. Они прекрасно защищают витрины магазинов от мародеров.

Распашная решетка в плане пожарной безопасности намного выгоднее. Конструкция может быть оборудована одной или несколькими створками. Такая конструкция чаще всего представляет собой металлическую раму, которая монтируется на окно, а с помощью петель к ней крепятся створки. Фиксация створок в закрытом положении осуществляется с помощью навесного или другого замка. Откидные решетки также являются интересным решением с точки зрения пожарной безопасности. По внешнему виду они практически ничем не отличаются от глухих, но изнутри фиксаторы могут быть отщелкнуты, чтобы вытолкнуть решетку наружу.
Обратите внимание! Распашная решетка может быть взломана легче, чем глухая. Это связано с тем, что замок и петли находятся в доступности злоумышленнику. Чтобы исправить ситуацию, необходимо предусмотреть скрытый вариант установки этих модулей в решетке
Чтобы исправить ситуацию, необходимо предусмотреть скрытый вариант установки этих модулей в решетке.
По способу изготовления решетки можно разделить на:
- сварные;
- сварные с ковкой;
- кованные;
- литые.

Сварной вариант решетки для окон является самым простым в изготовлении, а также имеет невысокую стоимость. Такие решетки сложно назвать произведением искусства, но они отлично выполняют свою задачу. Чаще всего такие решения применяются в дачных домах, где не требуется особая эстетика. Вторая категория решеток изготавливается похожим методом, но в ней есть элементы ковки. Это, например, могут быть какие-либо узоры или цветы, которые скрашивают чопорность решения. Полностью кованные решетки не исключают использования при производстве сварных швов. Смотрятся такие изделия просто великолепно, поэтому часто их используют на особняках и в загородных домах. Минусом таких решеток является высокая стоимость на производство. Литые решетки могут быть изготовлены из чугуна в заводских условиях. Их недостатком является значительный вес и высокая стоимость.
Предназначение решеток

Решетки отличаются не только по конструктивным особенностям или способу изготовления, но и по предназначению. Вот три основных класса конструкций:
- декоративные;
- охранно-декоративные;
- охранные.
Первый вид металлической конструкции не имеет своей целью выполнять защитные функции. Такие изделия монтируются для того чтобы подчеркнуть внешний вид здания. Ко второму виду решеток можно отнести конструкции с элементами ковки и кованные. Они являются украшением, а также выполняют защитную функцию. К охранным относятся обычные металлические сварные конструкции. Но отличие также лежит в толщине используемого материала. Для первого варианта диаметр арматуры может составлять всего 1 см, а в последнем уже от 2 см.
Какой тип профиля выбрать
В процессе производства применяются такие типы профилей:
Пруток- это профиль с круглым сечением. Он получается в результате прессования либо прокатки. Конструкции из прутка выходят твердыми, прочными и достаточно приятными на вид. Для защитных оконных элементов применяют прутки диаметром 12-20 см.

Квадрат- это профиль с квадратным сечением. Из данного вида профиля получаются красивые с эстетической точки зрения изделия, а в прочности он почти не уступает прутку. Лучше брать сечение 12х12, 14х14,16х16 мм.

Полоска- профиль с плоским прямоугольным сечением. Толщина ее бывает до 6 мм, а ширина около 20 мм. По степени прочности и защиты жилища они не могут сравниться с предыдущими вариантами, но их цена гораздо привлекательнее.

Комбинированные модели включают в себя разные виды профилей.
Особенности выбора вида лакокрасочного покрытия для металла решеток
В процессе производства подобных металлических решеток и других металлоконструкций, нами используется 3 основных метода их покраски:
- 1) решетки, окрашиваемые с использованием нитроэмали, отличаются ровной глянцевой поверхностью, зеркальным блеском (краска служит около 3 лет, после чего металл необходимо перекрашивать);
- 2) нанесение покрасочного материала Hammerite надежно защитит сталь от коррозии, негативного воздействия ультрафиолета, перепадов температурного режима (срок службы покрытия от 5 до 6 лет);
- 3) самое практичное и долговечное защитное покрытие – порошковое напыление, которое сохраняет внешний вид от 20 лет и более.
Финишная отделка
Установленная конструкция обязательно нуждается в дополнительной обработке – как минимум, покраске. А лучше также обработать ее антисептиком, который защитит металл от коррозии.
С помощью краски можно скрыть места сварки, особенно это актуально, если вы отказались от декоративных элементов, которыми можно их скрыть.
Краска также служит защитным покрытием, которое защищает металл от погодного воздействия и влажности, таким образом, продлевая срок эксплуатации конструкции.
На фото можно увидеть вариант оформления решетки.
Для раздвижных конструкций нужно дополнительно установить полозья, с помощью которых она сможет двигаться.
Для раздвижных решеток обязательно оборудование защитным от взлома механизмом, поскольку вскрыть такую конструкцию гораздо проще, чем стационарную.
Полозья также можно визуально скрыть с помощью декоративных элементов, например, цветочных горшков.
Из каких материалов изготавливают решётки на окна
Решётки для окон изготавливают из разных материалов, каждый из которых имеет свои плюсы и минусы. Рассмотрим их более подробно.
Чаще всего решётки изготавливают из металла
Металл
Обычно для решёток используют следующие виды металла:
- сталь, она хорошо поддаётся ковке, но недостаточно прочна. Прутья толщиной 1,5 см легко перекусываются специальным инструментом. Более надёжным будет изделие из прутьев толщиной 2 см, однако смотрятся такие элементы громоздко;
- арматурные прутья, элементы толщиной 1,4 см аналогичны обычному металлу сечением 2,0 см, их могут разрезать только гидравлические ножницы. Единственный минус таких изделий – из них нельзя сделать изящные завитушки. Решётка будет иметь чёткие формы;
- спецсталь – это самый надёжный материал. Из неё можно сделать тончайшие прутики, которые по прочности не уступают арматурной стали. Для того, чтобы взломать такую решётку, злоумышленникам понадобится плазменный резак.
Прекрасно смотрятся на окнах нерегулярные решётки, их ажурные узоры иногда вводят домушников в заблуждение. Им кажется, что сломать такой «веник» довольно сложно. Заказывать такую конструкцию следует только у опытного специалиста. Он сможет правильно рассчитать эскиз и изготовить стойкую решётку.
Дутые решётки соответствуют архитектуре здания
Типы профилей, используемых для изготовления решёток
Для решёток используют следующие типы профилей.
| Изображение | Тип профиля | Описание |
| Пруток | Имеет круглое сечение, конструкции получаются довольно прочными. Для решёток используют сечение от 1,2 см до 2,0 см. | |
| Квадрат | Профиль, грань которого равна 1,2, 1,4 и 1,6 см, достаточно прочный и внешне довольно приглядный. | |
| Полоса | Плоский профиль имеет сечение в виде прямоугольника, ширина которого может достигать 2,0 см, толщина – 0,6 см. Из него изготавливают простые элементы, по прочности уступающие прутку и квадрату. Основное их преимущество – невысокая стоимость. |
Поликарбонат
Металлические решётки громоздки, а заказывать витиеватую дизайнерскую ковку может не каждый владелец. Здесь на помощь приходят пластиковые ламели из поликарбоната. Это облегчённые изделия, обеспечивающие достаточную степень защиты жилья, не нарушая при этом внешний вид здания.
Решётки из поликарбоната смотрятся эстетично и элегантно, они отличаются от металлических конфигурацией, материал не препятствует прохождению ультрафиолетовых лучей и обзору из окна.
Из основных достоинств решёток из поликарбоната можно выделить:
- высокую прочность;
- устойчивость к механическим нагрузкам;
- ударопрочность;
- долговечность;
- устойчивость к погодным факторам.
Стандартная ширина планки из поликарбоната – 6 мм, этого достаточно для обеспечения защиты не только от взлома, но и от падения питомцев или детей. Даже помыть окно на высоте с такой конструкцией намного проще. Максимальная нагрузка достигает до 500 кг.
Дерево
Достоинств у деревянных решёток хоть отбавляй, выделим основные:
- достойный внешний вид;
- возможность покраски конструкции в любой тон, это существенный плюс особенно для частных и дачных домов;
- возможность придания конструкции любого очертания;
- возможность изготовления решётки своими руками.
Из особенностей дерева следует отметить только необходимость периодической защитной обработки поверхности. Правильно изготовленная решётка прослужит не одно десятилетие.
Установка внешнего элемента решетки — металлической рамы
Изготавливают оконную решетку и с таким элементом, как металлическая рама, и без него.
Для изготовления подобного варианта оконной решетки без обрамления идут только:
- стальная полоса;
- арматурный прут.
Если требуется установить решетку на окна дачного домика, тогда элементы сварки и ковки вряд ли понадобятся. Особенно если дом простой, деревянный. В таком варианте вертикальные детали располагаются в значительном отдалении друг от друга, так что естественное освещение затеняться не будет.
Решетка без внешней металлической рамы
Шаг первый. Используется полоса металла толщиной 4 мм и шириной 40 мм. А вот длина обладает зависимостью от следующих факторов:
- насколько широк оконный проём;
- сколько в решетке перекладин.
Еще потребуется гладкая арматура Ø 14 мм. Длина арматурного прута будет зависеть:
- от востребованного числа вертикальных элементов;
- от высоты окна.
Кроме того, потребуется иметь резьбовую шпильку Ø 10-12 мм.
Для создания основной решетки (горизонтальной) нужно будет запастись двумя металлическими полосами достаточной длины. Их размер должен быть на 5 мм меньше, чем ширина проёма окна. Полосы потребуется закрепить в нижней и верхней зонах решетки.
Третью полосу установят в средней части конструкции. Эта полоса станет связующим звеном между несколькими срединными или же всеми прутьями арматуры.
Шаг второй. В центральную часть решетки потребуется вварить вспомогательную усиливающую перемычку.
Шаг третий. Теперь потребуется обработать металлические полосы, нарезанные в соответствии с нужными размерами. Края полос проворачивают на 90 градусов.
Шаг четвертый. Выделяют края полос — ориентировочно 10-12 см. Край укладывают на стол и надежно закрепляют к металлической столешнице. Через полосу-прокладку из металла, то есть достаточно прочную, этот элемент затягивается двумя струбцинами. Можно зажать полосу в больших тисках.
Затягивание металлических полос двумя струбцинами
Для захвата свободного края полосы и неспешного разворота его под прямым углом используется газовый ключ. Такие действия проводят с каждой длинной стороной полосы.
Шаг пятый. Когда полосы будут подготовлены, на них производят разметку, чтобы просверлить отверстие, диаметр которого на 1-2 мм превышает тот же параметр прутьев арматуры. Сверлится отверстие Ø 15-16 мм.
Теперь полосу можно передвинуть, чтобы сделать очередное отверстие на одинаковом расстоянии от прежнего. Такие действия будут проводиться до того момента, пока не просверлится последнее отверстие.
Шаг шестой. Отверстия просверлены, можно вставлять в них прутья арматуры. Элементы решетки собираются в общую конструкцию, скрепляются сваркой.
Шаг седьмой. При отгибании краев выделяются монтажные площадки полос. На них делается разметка, чтобы приварить резьбовые шпильки. Каждая из шпилек должна иметь длину, равную толщине оконного блока с добавление 3-х см (от края следует отступить по 1-2 см). Эти дополнительные 3 сантиметра потребуются для накручивания изнутри помещения фиксирующих гаек.
Шаг восьмой. Нужно приварить шпильки к той из сторон полосы, что будет прижиматься к раме окна. Приваривать следует сплошным швом. После приваривания, на шпильку будет тут же накручена гайка.
Сборка решетки с двумя поперечными полосами
Шаг девятый. Для очистки решетки от ржавчины применяют железную щетку. После этого каждый элемент решетки протирается обезжиривающим раствором. Нужно дождаться, когда растворитель испарится, решетка высохнет.
Шаг десятый. Далее производится разметка оконной рамы, по обозначенным местам просверливаются отверстия. Тогда решетка будет крепиться к оконному блоку через приваренные шпильки, вставляемые в отверстия.
Шаг одиннадцатый. Можно поднять решетку и прижать к оконному блоку торцами штырей. Тогда на раме останутся точки, имеющие значение меток. По этим меткам впоследствии просверливают отверстия насквозь.
Приваривание шпилек
Сверлить отверстия желательно сверлом по дереву. Его диаметр должен оказаться на 2-2,5 мм шире диаметра шпильки. Тогда шпилька будет свободно, но плотно входить в «гнездо». Сверло должно иметь длину, превышающую толщину оконного блока хотя бы на 1 см.
Шаг двенадцатый. Решетка монтируется на раму. С этой целью в отверстия оконного блока потребуется вставить штыри-шпильки. Изнутри надевают шайбы достаточной ширины и закручивают гайки.
Видео: Как сделать решетку на окна своими руками:
(No Ratings Yet)
Как монтировать решетку

Установка решетки на окно
Установить готовую решетку на окно можно разными способами. Используются:
- арматурные отрезки, которые вбивают в оконные откосы;
- резьбовый штифт;
- “ушки”, на изготовление которых идет металлическая полоса.
Использование сварки
Заготавливаются штыри – отрезки арматуры Ø 10-12 мм. В откосах просверливают отверстия. Глубина отверстий 100-120 мм.

Сварка оконных решеток
Желательно подготовить 6 штырей на одну раму. Однако проём может оказаться слишком высоким. В этом случае сразу берется 8 крепежных деталей.
В раме решетки дрелью подготавливают отверстия. Диаметр должен быть таким же, как у арматурных отрезков. Также должны совпадать при монтаже рамы все отверстия в самой раме и в откосах.
Цены на сварочные аппараты
Крепление решетки метизами
Нужно приварить к раме металлические “ушки”. Для их изготовления используют полосы с параметрами 4×40×50 мм (толщина/ширина/длина). В этих деталях высверливают отверстия.
Снимается рама, сверлятся отверстия в стене. Решетку возвращают на прежне место. В отверстия, что просверлены в стене, через “ушки” вбивают анкерные болты, после чего их закрепляют окончательно.

Крепеж на оконных решетках
Крепление решеток через деревянное окно или же стену
Такая конструкция предусматривает, что на раму решетки будут приварены резьбовые штыри-шпильки. По длине они должны превышать толщину оконной рамы (стены) на 3-5 см.
Раму решетки прикладывают к стене, размечают на ней расположение штырей. Высверливают сквозные отверстия такого диаметра, как и диаметр штырей.

Крепление решеток шпильками
Дальше штыри решетки нужно вставить в отверстия, причем со стороны помещения потребуется надеть на них широкие шайбы, чтобы после накрутить гайки. Гайками можно контролировать установку решетки.
Какой дизайн выбрать
Помните, что если установить кованые решетки для окон в квартиру, то они будут у вас перед глазами при каждом взгляде на улицу, поэтому их эстетичность играет не последнюю роль. Фото красивых решеток безопасности удивляют, так как из металла можно производить настоящие шедевры. Способы изготовления:
Дешево и сердито- сварка. С ее помощью соединяют разрозненные железные элементы, которые изготовлены методом холодной и горячей ковки, в одно полотно.
Ковка. Изготавливается из прутка и квадрата, а искусно выкованные изделия напоминают настоящее кружево. Стоимость таких элементов гораздо выше, чем сваренных, так как процесс их производства очень трудоемкий. Такие варианты- правильный выбор для дачи или загородного дома, а для квартиры многоэтажки подойдут даже сваренные экземпляры.
Узор на решетки может быть абсолютно произвольным: каталоги фирм-производителей поражают воображение разнообразием исполнения, к тому же вы с легкостью сможете заказать изготовление по собственному шаблону.
Соединения от сварки могут выглядеть как декоративные хомутки, листы, пики или лепестки, а из-за использования машинной ковки могут достигать высокого уровня искусности.
Конструкции могут быть не только лишь плоскими, но и объемными, что прекрасно заметно при взгляде сбоку. Наиболее популярна форма буквы «S».
Требования, предъявляемые к решёткам на окна
Главное предназначение – это защита от проникновения в квартиру взломщиков. Помимо этого, решётка является гарантией того, что даже если ваш ребёнок или больной родственник сможет открыть окно, то он из него не выпадет. Решётки на окна обязаны отвечать следующим требованиям:
- Качество материала.
- Надёжность.
- Прочность крепления.
- Эстетичность.
- Устойчивость к взлому.
- Стойкость к воздействию атмосферных осадков.
- Должны легко вскрываться спасателями при ЧС.
Установка решёток своими руками вполне реальна. Главное, тщательно изучить ее технологию и иметь навыки работы с инструментами.
Описание процесса изготовления решетки.

Чтобы изготовить сварную решетку для окна, как уже говорилось выше, следует запастись металлическими прутьями и полосами. Работы начинаются с определения размеров оконного проема и эскизного наброска будущей конструкции. При разработке эскиза, необходимо учитывать особенность: расстояние между соседними прутьями не должно быть большим. Обусловлено это, естественно, созданием эффективной преграды попыткам проникновения злоумышленников через прутья решетки.
После проведения замеров и наброска эскиза следует провести работу с прутьями – разметить, подрезать, согнуть и, сопоставив их между собой, сварить на стыках.
Типы оконных решеток
Для начала нужно определиться с видом изделия и выбрать материал.
По функциональности они разделяются на три группы:
- открываемые;
- распашные;
- раздвижные.
В жилых домах и квартирах чаще всего устанавливают «глухие» изделия. Они изготавливаются очень просто и поэтому недорого стоят. Чтобы выбрать такую конструкцию, нужно учитывать следующее: «глухую» защиту можно устанавливать в квартиру или дом, имеющие хотя бы два отдельных выхода. Если случится возгорание, такая решетка не может быть использована в качестве аварийного выхода.
Промышленные и коммерческие помещения оснащаются другим типом решеток – распашными или раздвижными моделями. При этом должен быть предусмотрен механизм открывания изнутри помещения.

К жилым домам такие требования не предъявляются, поэтому конструкция изделия и материалы, из которых оно выполнено, должны обеспечивать:
- простоту;
- функциональность;
- возможность открывания (при отсутствии двух независимых выходов).
Производство таких конструкций допускает небольшие неточности, в отличие от распашных моделей.
Какой материал выбрать? В основном применяют стальные прутья и уголки. Толщина уголков должна составлять как минимум 2 мм, прутья в диаметре должны быть не менее 5 и не более 20 мм. Данные показатели зависят от желаемой надежности решетки. Комплект фурнитуры включает петли, замок и дужки к нему. После выбора подходящего материала можно приступать к изготовлению решетки.




































