Форма и размеры фасадных кассет
Как уже говорилось выше, чаще всего, металлические облицовочные панели имеют квадратную или прямоугольную форму. Однако для реализации некоторых дизайнерских решений необходимо использовать детали треугольной, шестигранной, трапецеидальной и других форм. Такие виды облицовочных панелей могут быть изготовлены по особому требованию заказчика, однако их стоимость будет значительно выше стоимости стандартных панелей.
Конкретных стандартов нет. Формы и размеры фасадных кассет полностью зависят от производственных возможностей компании и требований заказчика. Однако существуют некоторые параметры, которых придерживаются большинство производителей:
- Глубина – от 20 до 55 мм;
- Ширина стыков – от 5 до 55 мм;
- Высота – от 340 до 600 мм;
- Ширина – от 150 до 4000 мм.
Один из лидеров в производстве металлокассет компания «ИНСИ» разработала свою систему размеров, обеспечивающую максимальную экономию материала. Согласно этой системе, фасадная кассета считается экономически выгодной, если размер одной из граней составляет:
- КФ-2: 550 мм или 1175 мм в высоту и 555 мм или 1180 мм в ширину;
- КФ-1: 572 мм или 1197 мм в ширину и в высоту;
- КФ-3: 580 мм в ширину или высоту.
Интересно. Большой популярностью пользуются кассеты-полосы. У таких изделий ширина значительно больше высоты
Особенности монтажа пенопласта, пенополистирола и пенополиуретана

Технология установки теплоизоляции из пенопластовых плит при создании фасада несколько отличается. Для таких лёгких закрытоячеистых утеплителей нет нужды в создании обрешётки. Плиты можно просто приклеить, очистив стену от загрязнений.
Единственное, каркас необходимо будет сделать, если в качестве теплоизоляции используются плиты пенополистирола — в этом случае вспененный утеплитель фиксируется широкими шляпками. Они вставляются в стыки между плитами. Не стоит монтировать плиты вплотную — разумно оставить зазоры между кромками. Это позволит нивелировать температурное расширение, поскольку ППУ, ППС и пенопласт при нагревании немного увеличиваются в размерах — наличие зазоров позволит избежать коробления материала.
Советы до начала работы
Не экономьте на покупке строительных и отделочных материалов. Качественный материал не может стоить намного дешевле своей среднерыночной стоимости. Покупайте все необходимые элементы в проверенных местах, отдавая предпочтение известным производителям.
Сайдинг для фасада
Уделите должное внимание выбору облицовочного материала. К примеру, для отделки фасада очень хорошо подходит плитка во множестве ее разновидностей. Однако плитка имеет очень большую проблему – отрыв хотя бы одного элемента облицовки приводит к т
н. «эффекту домино», в результате которого обычный порыв ветра может оторвать и близлежащие плитки
Однако плитка имеет очень большую проблему – отрыв хотя бы одного элемента облицовки приводит к т. н. «эффекту домино», в результате которого обычный порыв ветра может оторвать и близлежащие плитки.
В итоге появится дыра, из-за которой характеристики всей конструкции снизятся. Поэтому по возможности от подобной облицовки рекомендуется отказываться.
Облицовка фасада сайдингом
Самый лучший вариант финишной облицовки для вентилируемых фасадов – это сайдинг. При условии грамотного монтажа внешний вид, срок службы и прочие важные характеристики такой отделки не будут уступать другим популярным материалам. Более подробную информацию о свойствах сайдинга вы получите далее.
Обшивка профнастилом – преимущества данного вида отделки
Дом обшитый профнастилом
При обшивке дома особое внимание уделяется качеству строительного материала. Гофрированные листы применяются для ограждения, отделки фасадов и кровли , строительстве быстровозводимых сооружений ( ангаров и навесов)
Гофрированные листы востребованы, поскольку:
Гофрированные листы востребованы, поскольку:
- материал легко моется, не вбирает пыль;
- гофра имеет аккуратный, презентабельный вид;
- довольно прочны, упруги;
- имеет приемлемую цены;
- строительный материал легко претерпевает различные манипуляции;
- стальной лист покрытый защитным слоем полимера устойчив к выцветанию, появлению ржавчины, перепаду температур, воздействию ультрафиолета;
- возможность применения теплоизолирующих плит различной толщины;
- профнастил отлично переносит высокую влажность, при условии соблюдения технологии монтажа по примеру устройства подкровельного пространства ;
- поверхность строения не требует дополнительного выравнивания и облицовки, обработанные листы становятся «лицом» фасада;
- строительный материал предоставляет большую возможность для реализации дизайнерской фантазии;
- профилированный лист является экономичным видом отделки дома.
Учитываем нюансы
- Поверхность сильно нагревается под лучами солнца, поэтому в жаркие солнечные дни работать со строительным материалом необходимо предельно аккуратно.
- В местах повреждения защитного слоя, при нарушении технологии резки профнастила со временем возможна коррозия металла.
- Для хорошей вентиляции рекомендуется обустраивать систему паро- гидроизоляции . Данный элемент позволит беспрепятственно выводить наружу скопившийся конденсат. Отсутствие воздушной прослойки действует разрушающе для постройки, создает условия для размножения внутри плесени, грибка. Воздушная прослойка создается между слоем утеплителя и профнастилом.
Подконструкция вентилируемого фасада
Каркас для навесного фасада
Каркасы классифицируют как по материалу, из которых они изготовлены, так и по конфигурации профиля.

По материалу каркасы делятся на:

Металлические – алюминиевые, стальные и оцинкованные. Горизонтальные элементы подсистемы имеют толщину до 2 мм, а вертикальные – до 1 мм. Применение металлических каркасов позволяет уменьшить общую массу конструкции. При использовании тяжелых навесных фасадов, например, из керамогранита, обязательно применяются металлические каркасы.

Деревянные – в таких каркасах применяют брус 50X60 и рейку 20X40 мм. Использование деревянных каркасов возможно только в случае небольшой массы фасада, кроме того, все деревянные элементы нуждаются в защите антисептиком.
Смешанные – в каркасе имеются и металлические, и деревянные элементы. Обрешетка делается из дерева, а основной каркас – из металла.

По конфигурации профиля:

L-образные – два ребра жесткости крепятся посредством болтов, а кронштейны позволяют компенсировать любую кривизну поверхности. Максимальный отступ фасада от стены составляет 380 мм. Минусом является дороговизна системы.

U-образные – у профиля четыре ребра жесткости. Значительно сложнее монтировать, чем L-образный профиль, плюсом является низкая стоимость.


Схема устройства вентилируемого фасада

Схема устройства вентилируемого фасада
Навесной вентилируемый фасад собирается из нескольких элементов, а именно:
- сначала к отделываемой поверхности крепится обрешетка, после чего промежутки между ее элементами заполняются фасадным утеплителем;
- поверх теплоизоляции укладывается паропроницаемая пленка. Одновременно она будет выполнять функции защиты от ветра и атмосферной влаги;
- создается воздушная прослойка, отвечающая за вентилирование фасада. Рекомендуемая толщина промежутка – порядка 40 мм. Вверху фасада следует создать продухи аналогичного размера. Это позволит обеспечить максимально эффективное вентилирование конструкции;
- фиксируется выбранное декоративное покрытие. Наружный слой должен одновременно придавать фасаду привлекательный вид и защищать теплоизоляцию от разного рода неблагоприятных воздействий.
Какие бывают панели для вентилируемых фасадов
Навесной фасад как бы создает кокон с внешней стороны постройки, обеспечивая прохождения воздушных масс между отделкой и стенами. Устройство вентфасада похоже на слоеный пирог. К стене сооружения фиксируется утеплительный слой, потом паро-, гидро-, ветронепроницаемая мембрана. Далее монтируется конструкция для навесной системы, а на нее устанавливается облицовка. Между облицовкой и утеплительным слом остается промежуток – воздушный зазор.

Эта прослойка препятствует проникновению теплого воздуха внутрь помещения. Зимой в слой наружной теплоизоляции перемещается точка росы – это определенный показатель температуры, при котором образуется конденсат. За счет этого стена снаружи под облицовочным слоем сухая.
Рекомендации профессиональных строителей
Чтобы работа прошла максимально легко, а готовый вентилируемый фасад в течение длительного времени сохранял свои изначальные характеристики, придерживайтесь нескольких простых рекомендаций профессиональных строителей.
- Прежде всего, при монтаже конструкции нужно ориентироваться на индивидуальный проект, разработанный конкретно для вашего дома. Проект позволит грамотно спланировать фронт работ и рассчитать нужное количество материалов.
- При выборе крепежа обязательно проверяйте качество дюбелей. Учитывайте параметры обрешетки, теплоизоляции и облицовки.
- Вентилируемый фасад нельзя сооружать на стенах, выложенных из пустотелого кирпича, пенобетонов и прочих материалов с плотностью не превышающей 600 кг/м2.
- Теплоизоляционные материалы обязательно сопровождаются инструкцией производителя, в которой детально описывается порядок крепления материала. Следуйте рекомендациям. К примеру, обязательным правилом для всех теплоизоляционных материалов является некоторое смещение вертикальных швов.
- Утеплитель и финишный материал нужно крепить строго по уровню. Даже 5-миллиметровая погрешность для 10-метрового фасада является недопустимым отклонением.
- Отверстия для дюбелей подготавливаются исключительно с помощью дрели. Использовать для реализации этих задач перфоратор запрещается.
- Конструкция вентилируемого фасада требует обязательного наличия контробрешетки. Благодаря этому элементу будет создаваться зазор, необходимый для вентилирования пространства.
Таким образом, в самостоятельном обустройстве вентилируемого фасада нет ничего сверхсложного. Достаточно разобраться в основах работы, выбрать наиболее подходящие материалы и выполнить все запланированные мероприятия в соответствии с инструкцией. Не забывайте полученные рекомендации, и вентилируемый фасад вашего дома будет служить максимально продолжительное время, сохраняя свои изначальные эксплуатационные характеристики.
Удачной работы!
Производители и продукция
Лучший фасадный керамогранит для дома можно купить у отечественных, китайских и итальянских производителей. При этом стоимость китайских и российских изделий в разы дешевле не в ущерб качеству.
Уральский гранит (Россия)
Продукция данной компании отличается широким ассортиментом и высоким качеством. Потребителю представлены несколько линеек изделий разных форматов: 600×300, 600×600, 1200×600.
Смотрим видеопрезентация о продукции завода:
https://youtube.com/watch?v=iulRdcfKIqA
Цветовая гамма содержит 27 моноколоров разной текстуры: полированные, матовые и структурированные поверхности
Привлекает внимание плитка, имитирующая природные материалы
Foshan Ceramics (Китай)
Китайская компания «Фошан» предлагает фасадный керамогранит по оптимальной стоимости и качеству. Данная продукция выполнена в разнообразной цветовой тематике и структурной композиции: полированные и неполированные плиты (648 — 810 руб/м2), в полоску и монолитные стандартных размеров.
Acif (Италия)
Данная компания держит лидерство на мировом рынке фасадных керамогранитных плиток, благодаря высочайшему качеству и прочности продукции. Основная задача производителя — создание устойчивого к влаге и износу экологически чистого материала. Товары отличаются высочайшими техническими и декоративными показателями. Однако ценовая категория тоже отличается высокими параметрами.
Porcelanosa
Данная компания составляет конкуренцию итальянской фирме Acif. Неглазурованная плитка фасадного керамогранита линейки Urbatek впечатляет своими декоративными качествами. Изделия выполнены методом структурирования и имитируют природный камень.
Линейка One порадует покупателя изысканным глянцем и натуральной матовостью текстуры. Glasgow являет собой имитацию металлических листов.
Аспекты правильного выбора
Если вам необходима декоративная отделка крупного строительного объекта фасадными керамогранитными панелями, следует выбирать изделия 600×600, которые создадут визуальную монолитность облицовки.
Для создания составных частей декоративных узоров применяют материал мелкого формата 300×300, толщиной до 3 см.
При покупке нужно учитывать не только размеры фасадного керамогранита, но и плотность. Плотность и толщина плит обеспечивают надежную защиту строениям, однако оказывают повышенную нагрузку на фасад.
Смотриим видео, советы по выбору:
Для холодных регионов необходимо обратить внимание на значок «снежинка», который указывает на дополнительную защиту материала от воздействия низких температур. Также немаловажен высокий показатель химической устойчивости фасадного керамогранита: выбирайте категорию «В». Показатель износостойкости для фасадов может быть ниже отметки «5»
Показатель износостойкости для фасадов может быть ниже отметки «5»
Также немаловажен высокий показатель химической устойчивости фасадного керамогранита: выбирайте категорию «В». Показатель износостойкости для фасадов может быть ниже отметки «5».
Полированный фасадный керамогранит придаст зданию нарядный и величественный вид, визуально расширив масштабы.
Советы по монтажу
Укладка фасадного керамогранита — цена работы мастеров складывается из многих составляющих. Если добавить стоимость расходных материалов, получается значительная сумма. Если вы решили самостоятельно облицевать фасад плиткой, учтите следующие советы:
- Для монтажа фасадного керамогранита необходимо установить каркас из металлических держателей, к которым крепится материал.
- После установки каркаса следует уложить утепляющий материал с помощью шурупов с широкой шляпкой и дюбелей из пластика.
- Далее укладывается мембрана для защиты от потоков воздуха и установления дозированной циркуляции воздушных масс в зазорах между плиткой и самим фасадом.
- Далее крепится керамогранит для фасада с помощью кляммеров.
Если вы решили нанять бригаду для облицовочных работ, стоимость будет рассчитываться индивидуально.
Смотрим видео, этапы монтажа:
Оплата зависит от климата региона, общего объема работы и дополнительных особенностей. Как правило, начальная цена за монтаж навесного фасада из керамогранита составляет 1000 руб/м2.
Итог
Для экономичной облицовки строений лучше воспользоваться продукцией отечественного или китайского производства. Западноевропейские фирмы предлагают высококачественные изделия по дорогой цене, которые подходят для элитных особняков.
Технология монтажа вентилируемого фасада из керамогранита
Организация предварительных работ
Порядок проведения организационно-подготовительных работ утвержден законодательно, их необходимо провести для обеспечения безопасности рабочих и жильцов.
При организации работ по монтажу вентилируемого фасада из керамогранита следует:
- указать границы опасной зоны – 3 метра от стен здания;
- на указанном участке приготовить необходимые материалы и оборудование, а также определить место для сборочных работ. Если в качестве утеплителя используется минеральная вата, то следует приготовить строительные поддоны во избежание впитывания влаги от земли;
- в случае сложных погодных условий (сильного ветра либо низких температур) монтажные работы следует отложить.
Этапы монтажа вентилируемых фасадов
Можно выделить следующие этапы монтажных работ:
- Необходимо взять рабочий проект вентилируемого фасада и произвести тщательное обследование здания с помощью нивелира или отвеса для выявления отклонений по горизонтали и вертикали, после чего пометить изменения на чертежах для пересчета дополнительной высоты и соответственно расхода материала. Рекомендуется сделать на бумаге схематическую раскладку плитки по стене. Расчет количества плит керамогранита производят, исходя из общей площади стен, учитывая швы между плитками, а также расстояние на температурное расширение материалов.
- Выполнение разметки для крепления кронштейнов – наносится согласно проекту строительства. Сначала размечают нижние горизонтальные линии, а также вертикальные боковые. Далее с помощью рулетки и лазерного уровня отмечаются места крепления кронштейнов.
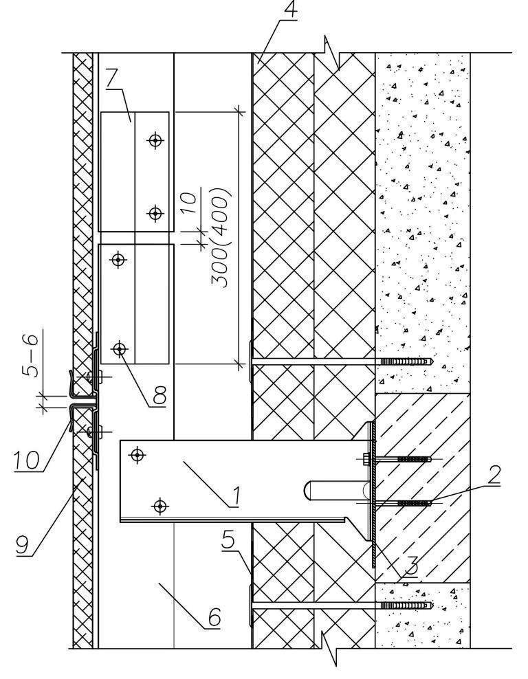
- Согласно разметке при помощи специальных пластиковых анкеров (со стальными или полиамидными сердечниками) выполняется монтирование кронштейнов:
- с помощью перфоратора сверлятся отверстия в стенах;
- в них укладываются паронитовые прокладки;
- производится установка несущих элементов (с помощью шуруповерта вкручиваются шурупы в анкеры).
Важно соблюдать сторону загиба согласно проекту, чтобы впоследствии не сместилась вертикальная ось. При монтаже кронштейнов необходимо подкладывать под них к стене терморазрывную пластину из паронита. Фиксация крепления осуществляется с помощью шайбы из алюминия
Шляпку анкера во избежание коррозии окрашивают краской
Фиксация крепления осуществляется с помощью шайбы из алюминия. Шляпку анкера во избежание коррозии окрашивают краской.
- После закрепления кронштейнов производится укладка утеплителя. Для герметичной термоизоляции используется ветрозащитная пленка – при этом требуется, чтобы ее слои перекрывали друг друга не менее чем на 10 см. Необходимую форму утеплителю можно придать с помощью ножниц либо ножа. Монтаж утеплителя начинается с нижнего ряда, крепление осуществляется на цоколь или профиль, а дальше утепляющие плиты крепятся между собой, вплотную друг к другу в шахматном порядке. Между облицовкой и утеплителем должна быть воздушная прослойка от 50 мм.
- Далее необходимо установить вертикальные направляющие профили:
- в выемки опорных кронштейнов вставляются профили и закрепляются при помощи заклепок. Необходимо предусмотреть температурное расширение материала – оставить в местах крепления зазоры;
- согласно требованиям противопожарной безопасности необходимо установить противопожарные отсечки.
- Монтаж облицовки вентилируемого фасада осуществляется следующим образом:
установка фасадных кассет — проводится сборка и крепление к профилям кляммеров;
монтирование облицовочной керамогранитной плитки.
Облицовка фасада здания керамогранитной плиткой может осуществляться двумя способами:
- монтажом с видимыми швами — с помощью крепежных элементов – шурупов, заклепок, кляммеров. В навесном вентилируемом фасаде из керамогранита плитка крепится на профиль, окрашенный для максимальной незаметности швов в тон плитки;
- бесшовным способом – в этом случае плитка крепится «невидимым» методом с внутренней стороны. Механические методы подразумевают закрепление плитки с внутренней стороны фасада с помощью дюбелей или штифтов. Для небольшой плитки (60х60 и меньше) применяется метод приклеивания облицовочного материала с помощью специального клея на вертикальный профиль (в этом случае плитку можно будет демонтировать, только разбив). Существует также комбинированный метод крепления, сочетающий механическое крепление облицовочной плитки в двух точках и применение клея.
Бесшовное крепление обходится дороже видимого, поэтому иногда нижний слой облицовки выполняют с помощью «невидимого крепления», а для верхних этажей здания осуществляют отделку с помощью видимых швов – такая уловка позволит снизить расходы.
Структура вентилируемого фасада
Любой вариант (как утепленный, так и не утепленный) состоит из нескольких слоев. Конкретная структура зависит от того, какой утеплитель применялся при изготовлении вашего варианта. Обе разновидности имеют особое количество слоев, специфическое строение обрешетки и другие показатели.
Если утеплителя нет, конструкция состоит из следующих компонентов:
- несущая стена (материал зависит от материала здания);
- обрешетка;
- облицовка.

В варианте с утеплителем строение примерно такое же, за исключением некоторых дополнительных особенностей. Как упоминалось выше, вентилируемый фасад может именоваться конструкцией с утеплителем только в том случае, если для наружной защиты от теплопотерь применяется супердиффузная мембрана, которая располагается над утеплителем, а также если имеется зазор для вентиляции. Эта разновидность может быть каркасной или стеновой.

Стеновой вариант подразумевает фиксацию утеплителя, облицовки и мембраны непосредственно на саму несущую стену, вне зависимости от материала ее изготовления. Каркасная разновидность устроена иначе – в ней сам утеплитель и является стеной, в то время как несущая конструкция из специфических материалов отсутствует.
Стеновой утепленный вентилируемый фасад может присутствовать в доме изначально, а может быть изготовлен уже после завершения строительства, во время реконструкции фасада. Для изготовления готовая стена утепляется или покрывается облицовкой (это можно делать во время эксплуатации объекта). Время создания вентилируемого фасада никак не влияет на его эксплуатацию, характеристики в обоих случаях будут одинаковыми.
Особенности каждого слоя фасада
Все составные части вентилируемого фасада оказывают определенное влияние на свойства конструкции. Каждый слой влияет на вентиляцию и защиту от теплопотерь.
Утепленный вариант имеет следующую конструкцию:
- несущая стена;
- обрешетка;
- утеплитель;
- защитная мембрана;
- облицовка.
Стена изготавливается из разных строительных материалов: кирпича, блоков любых видов, древесины (брус, доска, бревно), камня, самана. На любой из этих вариантов можно установить вентилируемый фасад, однако от материала зависят некоторые его параметры.
Используемый стройматериал влияет на ряд характеристик конструкции.
Чем ниже теплопроводность несущей стены, тем менее толстым должен быть утеплитель, и наоборот.
Эта часть конструкции бывает металлической и деревянной. Выбор зависит от надежности стены.
Для крепления могут использоваться саморезы, дюбеля и другие виды крепежа.
Этот показатель зависит от степени выравнивания стены. Например, при работе с неровными материалами нужно использовать подвес П-образной формы, а в обычных случаях можно устанавливать конструкцию напрямую.
Подробнее об особенностях обрешетки вентилируемых фасадов читайте в соответствующей статье.





































